大众点评对于吃货来说,肯定不会陌生,大众点评网涉及的其实远远不止美食,美发等,包括了吃喝玩乐俱全的生活服务。但就是这样的一家知名度不低的公司,申请商标注册的时候,遭遇到了商标局的驳回,这是怎么一回事呢?难道是显著性不够?不应该啊。

要知道商标是企业宣传品牌,拓展市场一个重要的因素。缺失了商标,很多工作是没法展开的,就像iPhone进入中国的时候,在商标上就花了不少钱,ipad商标就花了4个亿人民币买到手的。成立于2003年的大众点评,之后公司迅速发展,先后获得了腾讯、红杉资本、万达集团等大公司的融资。
2003年,大众点评出世!
2004年,注册了“大众点评”16类的商标。
2005年,注册了“大众点评网”。
2006年,又注册了“大众点评”35和38类的商标。
2012年的时候,大众点评还被《福布斯》中国评为了“中国移动互联网公司30强”第一名。在2011年到2014年期间,多次获得各种奖项。
但是小编发现2003年成立的大众点评却到了2008年后才开始大批量地注册自己的商标!

在2015年之前,大众点评已经在某些地域具有一定的名气了,可是自己的商标还是没有注册到位,于是其它公司便申请了“大众点评”其它类别的商标。
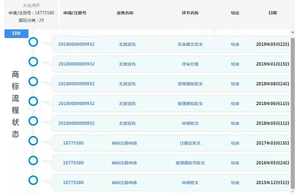
据小编综合信息后,发现大众点评有三件没有通过第一次的申请,原因是已经有相同的商标注册了!
为了更直白,小编挑一件商标出来做个对比!

被抢注的29类“大众点评”商标
2015年其它公司申请注册,2018年大众点评发起无效宣告申请,2019年商标局正式判决为无效!
可是2015年距离2003年大众点评面世,12年过去了,竟连自己的名字都还没完全注册好。

而且还是因为自己想要注册这枚商标了,被驳回后才发现被抢注了!

现在大众点评有点麻烦了!
虽然无效宣告已经成立了,但是自己的商标第一次申请被驳回,可是复审好像也有点不对头哦!
据说,商标局复审阶段,并没有因为大众点评网已提起无效宣告而暂缓审理!
这三枚迟来的商标,复审还有可能会有不通过的风险!

那些近几年爆红的喜茶啊、鹿角巷、鲍师傅也有出现过解决不了的商标问题,小编也知道他们估计也是真的没办法了。
但是!你大众点评成立12年了,一个轮回后都还没搞定自己的商标!你情何以堪啊!不过这也不是单独案例。
像北京“京天红”为了省钱,没有注册全自己的商标!
广州“双鹤玫瑰露酒”意识不到位,也没有注册自己的商标!
由于很多企业对知识产权的重视程度不够在这种情况下很容易遭遇商标被抢注或者侵权的情况。
现在国家也大力提倡知识产权,对于商标,专利,版权愈发地重视。想必现在小伙伴们看电视剧的时候,有时也会看到有关商标的故事吧!
最后小编提醒在企业品牌布局的时候,对于商标注册、专利布局方面一定要缜密的布控好,不给未来的自己留下隐患。不然遇到维权事件后,只能花更大的代价及时间来弥补这些过失。对于全类别的商标注册,有利于自己的“商标先占”,商标就是企业有力维护自己合法权利的武器。
| 相关文章

数十万商标待选
总有一款适合你

直联卖家
透明零差价

知队长护航
全流程把控

避开注册风险
直达心仪商标

省去注册流程
专业顾问服务