冷空气已经猝不及防地刮来了,寒冬中,一杯热粥便能驱寒。花生红枣粥、黑米八宝粥、桂圆糯米粥、牛奶燕麦粥、小米南瓜粥……以及最近寒风中又出现了一个“粥中贵族”:粥杰伦。虽然没有尝过这“粥杰伦”的风味,不过他的真面目大家还是可以品一品的……
看到这张图的第一反应,还真不知道说点什么好能配得上卖家的“良苦用心”。据微博上的小视频了解到,该粥铺卖家车上摆放着牛奶燕麦和粥杰伦plus,真别说,“粥杰伦plus”混入其中还真像那么回事儿。
让人好奇的问题来了:这么吸引人眼球的粥,这么吸引人眼球的杰伦,是否有人已经为他申请了商标呢?心动不如行动,笔者去搜索了商标网一探究竟:
果然,大家真是相当有想法啊。“粥杰伦”这一词最早在2006年1月13日就被一位叫董强的人申请注册了。
申请人董强于2016年1月13日申请的第43类5115595号商标,商品服务类别为养老院;日间托儿所(看孩子);动物寄养等。商标状态为已注册,专用权期限为2009年10月21日 至 2019年10月20日。不过这件商标看起来和粥没有多大的关系,与粥关系较大的是申请人董强注册的另一件:
同日申请注册在第30类5115596号商标,服务类别包括加奶咖啡饮料; 茶饮料; 糖; 龟苓膏; 甜食; 粥; 方便面; 大米花; 冰淇淋; 佐料(调味品)。都是食物,算是和粥有了那么一点点关系。
看来,“粥杰伦”也不能说是粥铺卖家的首创了,其实早已有人在脑海中将周杰伦的名字翻腔倒海了一番。不过不知道周杰伦本人看了,会是什么反应……倒是有些网友看了之后调侃说,或许也可以叫“饭特稀”。(《范特西》是周杰伦2001年发行的专辑)
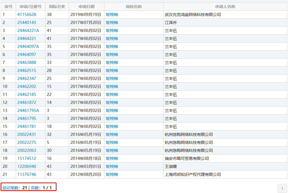
然而“饭特稀”也没有逃过大家的慧眼,几年前就被人申请注册。不得不说,周杰伦宛如一个行走的商标侠,不知道未来还有多少稀奇古怪的商标能从周杰伦的身上挖掘出来。且不谈未来,就说说今年,周杰伦在知识产权方面也已经算涉猎广泛了。
前段时间,周杰伦新歌《说好不哭》上线之后,火爆网络。除了新歌本身,关于《说好不哭》MV中的各种商标彩蛋(周杰伦《说好不哭》的“商标彩蛋”,已被他人注册为商标!(点击标题可直接查看))、以及MV剧情疑似抄袭韩国女子组合KISS的MV《因为是女子》(惊呆!周杰伦新歌《说好不哭》MV被爆抄袭?(点击标题可直接阅读))等消息也引起了大家的广泛关注。今年十一月初,中国裁判文书网还公布了腾讯音乐娱乐科技(深圳)有限公司与杭州网易云音乐科技有限公司、杭州乐读科技有限公司录音录像制作者权权属纠纷一审民事判决书。腾讯音乐就周杰伦音乐版权纠纷起诉网易云音乐,一审获赔经济损失及制止侵权的合理开支共计85万元。(周杰伦音乐版权案判赔85万!腾讯授权费三年涨948万(附:判决书)(点击标题可直接阅读))
讲真,当明星不容易,做个像周杰伦这样的明星就更别说了。一方面不仅要在演艺事业上做出一番成就,另一边,知识产权各方面的保护也是不能落下。前有“渣渣辉”,后又有“粥杰伦”,噫吁嚱,蜀道之难难于上青天,明星之难难于知识产权保护。这种与明星名字谐音有关的商标其实不在少数,一方面确实能够利用明星自身的热度给自己的品牌带来一些效益,但是商标能不能注册成功就要另说了。就拿刚刚的几件“粥杰伦”商标来说,已经注册成功也就只有其中一件。
不知道未来还有多少“蹭热度”的明星牌食品,那既然“粥杰伦”和“饭特稀”都早已出现,“菜依林”还会远吗?那必然不会,因为已经出现了……
然而微博网友的一条留言更是惊呆众人:“锅的钢,沸浴清,莫闻味,贩冰冰,锅富城,潘尝姜,溜得滑,泄停封,金喜膳”。
不得不说,笔者头一次默念评论念得如此一字一句、抑扬顿挫、铿锵有力……最后,笔者还是奉劝各位商标申请者,商标的申请上,只要不违背商标法,您奇思妙想出的牛鬼蛇神尽管放马过来,大家墙都不扶了就服你。
| 相关文章

数十万商标待选
总有一款适合你

直联卖家
透明零差价

知队长护航
全流程把控

避开注册风险
直达心仪商标

省去注册流程
专业顾问服务