一个月前,美团申请了几枚有关生鲜业务的商标。
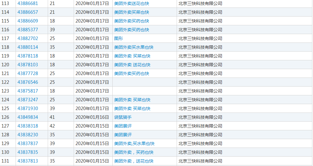
美团外卖,买药也快
美团外卖,买菜也快
美团外卖,买水果也快
美团外卖,送花也快
菜有了,水果有了,药也有了。
甚至还考虑到了2月14日情人节,美团外卖甚至申请了“美团外卖 送花也快”商标。
2020春节,因为疫情的关系,不出门就是对社会的最大贡献。
可人,总是要吃的,米、调味品、菜、水果,一样也不能少。
出不了门(隔离或是怕怕),那怎么办呢?
只能是线上买,线下等着送咯。
这个春节,线上零售和生鲜有了爆发式发展。
美团外卖公布的数据显示,1月26日至2月8日期间,在美团外卖平台的连锁超市门店中,生活必需品的订单量涨幅明显。
米面粮油、调味品、生鲜果蔬等品类的商品销售额同比增长了400%以上。
此外,过去一个月以来,不同种类的水果蔬菜的销量突破百万大关。
橘子和鲜果切销量分别突破了200万份和100万份,土豆、葱、香蕉、猪肉、鸡蛋、西红柿、草莓、米面粮油等商品销量也名列前茅。
近期,不管是线下商超还是线上生鲜电商平台,其生鲜果蔬销量都暴涨。
生鲜的增长或许让美团再次看到更多机会,注册生鲜商标,为自己的下一步做好打算,依托自己已有的外卖平台上再拓展生鲜业务。
中国商标网显示,美团又提交了百余件商标申请,从美团的走向来看,很有可能是有关于“线上生鲜”的商标。
美团还申请注册了“菜大全”、“美团外卖青山计划”等商标。
商标是企业开展业务的对外宣传的口号,是企业服务或产品的标志。
抢先一步占据商标,可能就占据了市场。
| 相关文章

数十万商标待选
总有一款适合你

直联卖家
透明零差价

知队长护航
全流程把控

避开注册风险
直达心仪商标

省去注册流程
专业顾问服务