
图片来源于网络
近年来,“网红”已逐渐成为人们非常熟知的网络热词。与此同时,在这个网红辈出的时代,网红自身的名字也屡遭他人抢注。当然,网红本身能够拿出法律武器为自己独有的名字维权,那么问题来了,“网红”一词,又究竟属于谁呢?
苏州一公司“网红”商标遭驳回
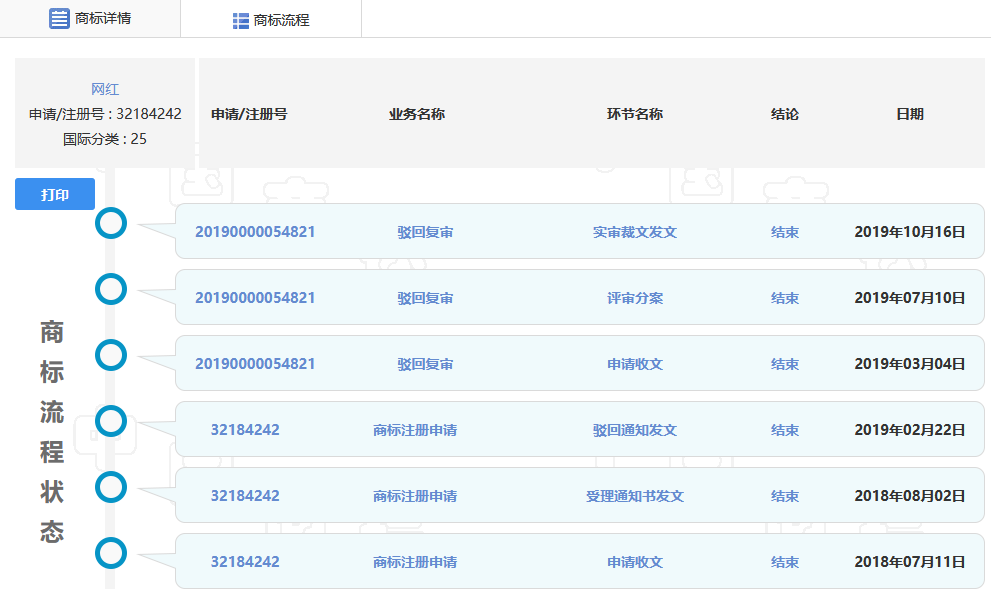
近日,国家知识产权局原商标评审委员会网站发布了关于第32184242号“网红”商标驳回复审决定书。笔者去查询了商标网,该商标具体信息如下:


2018年07月11日,申请人苏州智取商贸有限公司在第25类申请注册了第32184242号“网红”商标,商品服务类别包括:服装;外套;裤子;童装;帽子;袜;手套(服装);披巾;腰带;鞋等。随后被商标局驳回,于是申请人苏州智取商贸有限公司向商标局申请复审。
申请人复审的主要理由是:申请人申请商标完全是为了自身的业务发展需要,驳回决定中的理由无任何事实法律依据,且申请人在先第18779565号商标已注册成功。综上,申请人请求对申请商标在全部复审商品上的注册予以初步审定。
经复审认为,“网红”作为商标,使用在指定的商品上,易使消费者对商品的品质等特点产生误认,不得作为商标使用。申请商标属于《中华人民共和国商标法》第十条第一款第(七)项所指不得作为商标使用的标志。申请人所称其他商标的注册情况与本案不同,不能作为申请商标获准初步审定的当然理由。最终,申请商标在复审商品上的注册申请予以驳回。
申请人所称已有“网红”商标注册成功
申请人复审的主要理由中称,申请人在先第18779565号商标已注册成功。

申请人所称的第9类第18779565号商标于2017年04月14日注册公告,专用权期限为2017年04月14日 至 2027年04月13日,商品服务类别包括卫星导航仪器;智能手机;穿戴式行动追踪器;智能手机用套;智能手机用壳;手机屏幕专用保护膜;电影摄影机;摄影器具包;自拍杆(手持单脚架);照相机(摄影)等等。
那这两件“网红”商标为何结局不同呢?但仔细搜索发现,结局不同的,不仅仅只有这两件“网红”商标。苏州智取商贸有限公司从2015年至今,断断续续地申请注册了多个带有“网红”字样的商标,这些商标大多为第25类。

据企查查数据显示,苏州智取商贸有限公司经营范围包括食用农产品、体育器材、珠宝首饰、化妆品、日用百货、计算机软硬件、通讯器材、电子产品、玩具、工艺美术品、办公用品、服装服饰、饰品、五金、日用品、机械设备、厨卫用品、母婴用品;预包装食品兼散装食品的批发与零售。
而苏州智取商贸有限公司所申请注册的几件“网红”商标服务类别多为服装、通讯其次、电子产品等,属于其经营范围之内。有趣的是,该公司在服装这一服务范围的商标申请,前前后后有三次:



最早申请的一件已经注册公告,而后两件在驳回复审状态。于是2019年,该公司又一次申请了“网红”商标,只不过商品服务的描述上更加细节了些。

苏州这一公司为了这件“网红”商标也真是“孜孜不倦”了……
“网红”频出,“网红”商标何去何从
商标网搜索“网红”二字,发现带有“网红”二字的商标有一千多个,其中“网红先森”、“网红小姨妈”、“网红优品”、“网红头条”、“网红日记”、“网红隔壁老王”等奇葩商标数不胜数。


《中华人民共和国商标法》第十条第一款第(七)项指出,带有欺骗性,容易使公众对商品的质量等特点或者产地产生误认的,不得作为商标使用的标志。因此,在这个“网红”频出、人人都想分得“网红”一杯热羹的当下,更应守住底线,不去欺骗消费者并借此牟利。
关于第32184242号“网红”商标驳回复审决定书
商评字[2019]第0000235043号
| 相关文章

数十万商标待选
总有一款适合你

直联卖家
透明零差价

知队长护航
全流程把控

避开注册风险
直达心仪商标

省去注册流程
专业顾问服务