最近看新闻,河北大学举行建校百年校庆,还请了作家莫言讲座,还有各种宣传,可谓是盛况空前,一个学校能有百年的历史,真是历经风雨,很不容易。活动中,校门口也立起了“河大”的牌子,宣传片开头也是百年“河大”,媒体的报道中用的也是“河大”,甚至莫言的也是以“河大”落款,那河南大学和河北大学,谁能用这个“河大”代表自己呢?

往常,大家都从建校时间,学科,经费等方面进行对比,今天小编从商标方面进行对比下,看看哪所学校更能称得上“河大”。
先来看河北大学的商标申请情况,通过申请人“河北大学”检索,发现只有9件商标申请,且没有“河大”字样。

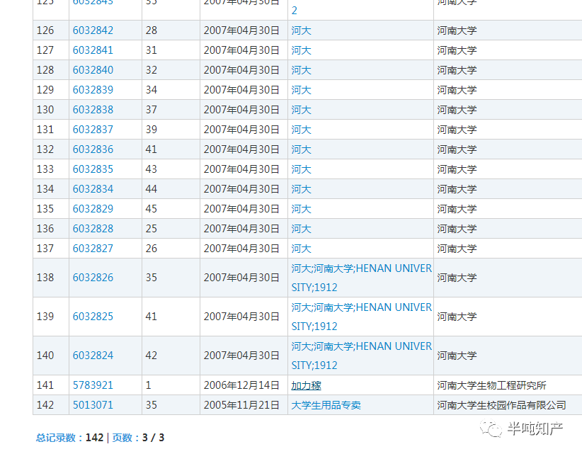
再来看河南大学,通过申请人“河南大学”检索,一共申请了142件商标,其中包含“河大”字样的有59件,通过这样对比,可以轻易得出这样的结论,河南大学才能叫“河大”。


更进一步检索,在第41类教育教学方面,河南大学的“河大”也没能在第41类的4101教育这个近似群组中取得授权,但是有另外一个商标“河大教”取得了相应的授权,有了这件商标,他人想在第41类教育上,就不太可能取得“河大”了。


这下你知道哪所大学能称自己为“河大”了吧!
其实国内大学简称造成两个学校冲突的情况很多,东北大学、东南大学简称东大;西北大学、西南大学简称西大;南京大学、南昌大学简称南大;湖南大学、湖北大学简称湖大;山东大学、山西大学简称山大,那这些又该怎么办。
简单检索下,东大,因为有这两件商标的存在,很难取得注册了,东北大学、东南大学都申请过,也都失败了。


再看下,西大,2003年西安西北大学投资管理有限公司取得了第41类的商标授权,而且还是学校(教育),但很遗憾,期满未续展被注销了,再想申请,难于上青天,而且,广西大学也加入“西大”争抢的混战之中。



再看下“南大”,南昌大学恐怕就没有争的份了,乖乖的叫南昌大学吧,因为南京大学已经取得了“南大”商标。
再看“湖大”,虽然湖北大学,湖南大学争了许久,但还是湖南大学抢到了在“学校(教育)”上的授权。

再看下“山大”,也是山东大学一家独享,建议山西大学争抢“西大”商标吧。

借用一位南京大学教授说的话,这往往只是地域性的约定俗成而已,背后应该没有什么阴谋论的争夺。
来源:半吨知产
| 相关文章

数十万商标待选
总有一款适合你

直联卖家
透明零差价

知队长护航
全流程把控

避开注册风险
直达心仪商标

省去注册流程
专业顾问服务