百度百科资料显示,海天味业至今已有300年的历史,是中国最大的专业调味品生产企业,旗下的海天酱油、海天蚝油等系列产品也都是及其畅销。
但或许,大家有时候见到的“海天”并不属于大家熟知的海天味业。

近日,北京市高级人民法院公开二则判决书,海天味业无效青龙高科第1103643号“海天HAITIAN及图”、第967985号“海天SEASKY及图”商标均获得法院支持。

所以我们平时看到的海天食用油可能并不是真正的海天品牌?
由于发展之初,海天味业商标的注册主要集中在调味品类,并未对调味品外的领域过多关注。
就这一时疏忽,导致“海天”相关商标被江西某油脂公司抢注,注册在生产食用油等相关类别。
这也造成了后来市面上出现的海天食用油是江西公司销售的,而并非是真正的海天。

借着海天的品牌知名度,江西某油脂公司出售菜籽油、玉米胚芽油、葵花籽油等食用油产品,很多消费者难以辨别。
为了拿回品牌商标,海天味业自2018年起多次对江西某油脂公司注册的“海天”商标提出“商标撤三”、“无效宣告”以及不正当竞争和商标侵权等诉讼。
这才迎来了开头海天味业成功无效的判决。




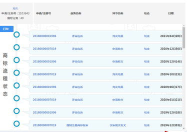
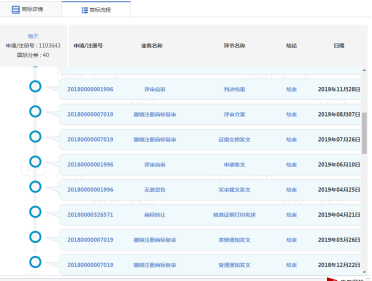
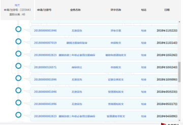
看看其中这枚商标,从2018年1月开始就在不停的被撤三,被无效宣告,可以看出来海天味业的决心了,也能看出来这个类别对海天的重要性。

海天味业过去可能只想到在酱油分类做商标保护,而未预计到未来会跨界多品类布局,没有提前做充分准备,导致现在出现非常被动的局面。
“亡羊补牢”,不如“未雨绸缪”。
通过海天的案例,也给企业敲了警钟。在申请商标时不要只看目前企业的经营范围,可以把格局放大,把相关的商品服务范围一起保护起来,这样在以后的未来可能会对企业起到关键性的作用,不会处于被动的地步。
如果真的没有“绸缪”到,出现了关键类别被抢注的情况,也要积极寻求专业代理的帮助,通过无效,撤三等手段去争取自己的商标。
| 相关文章

数十万商标待选
总有一款适合你

直联卖家
透明零差价

知队长护航
全流程把控

避开注册风险
直达心仪商标

省去注册流程
专业顾问服务